


Вобщем то уложил путь на свой модуль. Все получилось без проблем
И то, нужно определиться с толщиной этого самого текстолита и подкладкой под него чтобы выйти в "0" с вашей плиткой.
В моем случае мне очень повезло, текстолит был по толщине как шпалы, и путь на него ложился хорошо, ну и подкаладка под текстлоит была сделана из того же ПВХ, который каким то чудом оказался той же толщины что и плитка.
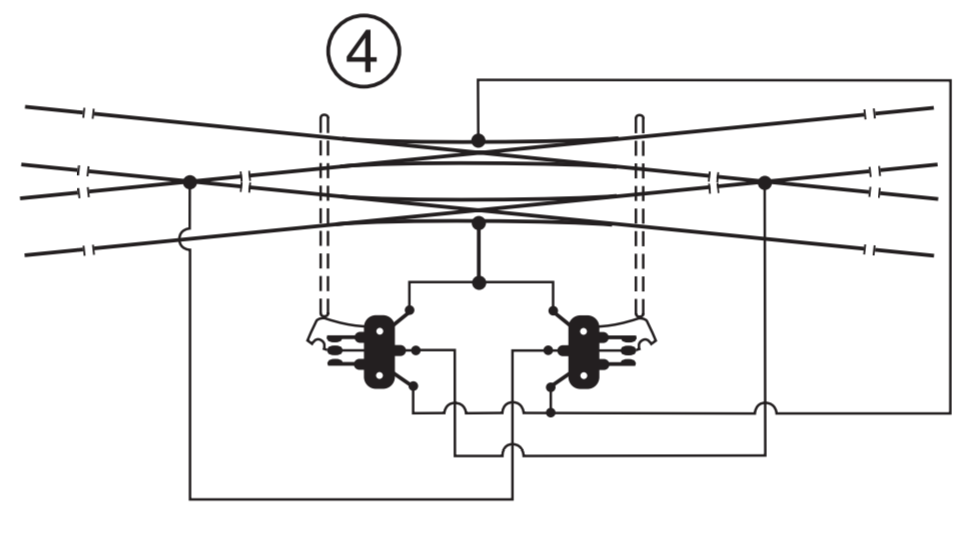
А зачем отверстия для стяжки модулей сделаны внутри ящиков? Это ведь сильно не удобно, скрепить модули можно только перевернув их. А если модулей будет10-20, а если замкнутая кривая? Гораздо практичнее делать отверстия снаружи макета, например как у Сигемона.
Честно говоря не совсем понял как это отверстия могут быть снаружи

. Что касается удобства стыковки, то да, тут не всегда это удобно, но далнеко не обязательно их переворачивать, у меня достаточно легко получается скручивать их просто приподняв над поверхностью где они стоят. Вобщем не критично